热门:
隧道股份:2023年净利同比增长2.92% 拟10派2.3元
隧道股份(600820)4月20日披露2023年年报。2023年,公司实现营业总收入741.93亿元,同比增长2.62%;归母净利润29.39亿元,同比增长2.92%;扣非净利润27.13亿元,同比增长10.35%;经营活动产生的现金流量净额为31.78亿元,同比下降21.45%;报告期内,隧道股份基本每股收益为0.93元,加权平均净资产收益率为10.31%。公司2023年年度利润分配预案为:拟向全体股东每10股派2.3元(含税)。


以4月19日收盘价计算,隧道股份目前市盈率(TTM)约为7.38倍,市净率(LF)约为0.75倍,市销率(TTM)约为0.29倍。

公司近年市盈率(TTM)、市净率(LF)、市销率(TTM)历史分位图如下所示:



数据统计显示,隧道股份近三年营业总收入复合增长率为11.16%,在基建市政工程行业已披露2023年数据的13家公司中排名第6。近三年净利润复合年增长率为9.14%,排名9/13。

年报称,公司主要从事隧道、轨道交通、路桥、燃气及新能源、水务、地下空间等城市基础设施的设计、施工、投资、传统及智慧运营养护业务,同时还包括与施工业务相配套的盾构(含数字盾构)设备制造业务,此外公司近年来还广泛涉足产业基金、融资租赁、保理等类金融业务,以及与智慧城市、智能交通相关的新兴数字信息业务。
分产品来看,2023年公司主营业务中,施工业收入613.60亿元,同比增长16.87%,占营业收入的82.70%;基础设施运营业务收入59.72亿元,同比增长20.85%,占营业收入的8.05%;投资业务收入28.63亿元,同比下降22.92%,占营业收入的3.86%。

2023年,公司毛利率为10.28%,同比下降1.97个百分点;净利率为4.28%,较上年同期上升0.08个百分点。从单季度指标来看,2023年第四季度公司毛利率为7.55%,同比下降4.82个百分点,环比下降4.47个百分点;净利率为5.77%,较上年同期上升0.29个百分点,较上一季度上升2.58个百分点。

分产品看,施工业、基础设施运营业务、投资业务2023年毛利率分别为6.94%、17.79%、43.60%。
报告期内,公司前五大客户合计销售金额124.84亿元,占总销售金额比例为16.83%,公司前五名供应商合计采购金额62.30亿元,占年度采购总额比例为15.22%。

数据显示,2023年公司加权平均净资产收益率为10.31%,较上年同期下降0.51个百分点;公司2023年投入资本回报率为6.39%,较上年同期增长0.29个百分点。

2023年,公司经营活动现金流净额为31.78亿元,同比下降21.45%,主要系购买商品等支出增加所致;筹资活动现金流净额-6.46亿元,同比减少8.25亿元,主要系取得借款减少所致;投资活动现金流净额-17.38亿元,上年同期为-29.9亿元,主要系购建固定资产等减少所致。
进一步统计发现,2023年公司自由现金流为63.94亿元,相比上年同期增长66.53%。

2023年,公司营业收入现金比为95.99%,净现比为108.15%。

营运能力方面,2023年,公司公司总资产周转率为0.47次,上年同期为0.47次(2022年行业平均值为0.54次,公司位居同行业18/24);固定资产周转率为17.26次,上年同期为16.49次(2022年行业平均值为16.95次,公司位居同行业16/24);公司应收账款周转率、存货周转率分别为3.48次、71.93次。

2023年,公司期间费用为65.89亿元,同比增长7.41亿元;期间费用率为8.88%,同比增长0.79个百分点。其中,销售费用同比增长32.86%,管理费用同比增长11.26%,研发费用同比增长10.81%,财务费用同比增长17.65%。

资产重大变化方面,截至2023年年末,公司长期应收款较上年末减少3.03%,占公司总资产比重下降1.63个百分点;长期股权投资较上年末增加46.25%,占公司总资产比重上升1.37个百分点;合同资产较上年末增加7.95%,占公司总资产比重上升0.45个百分点;固定资产较上年末减少5.66%,占公司总资产比重下降0.31个百分点。

负债重大变化方面,截至2023年年末,公司应付账款较上年末增加12.96%,占公司总资产比重上升2.84个百分点;应付债券较上年末增加99.23%,占公司总资产比重上升1.47个百分点;合同负债较上年末减少18.85%,占公司总资产比重下降1.46个百分点;短期借款较上年末减少20.47%,占公司总资产比重下降1.25个百分点。

从存货变动来看,截至2023年年末,公司存货账面价值为11.75亿元,占净资产的4.06%,较上年末增加5.47亿元。其中,存货跌价准备为706.19万元,计提比例为0.6%。

2023年全年,公司研发投入金额为30.13亿元,同比增长14.07%;研发投入占营业收入比例为4.06%,相比上年同期上升0.01个百分点。此外,公司全年研发投入资本化率为1.21%。


在偿债能力方面,公司2023年年末资产负债率为77.98%,相比上年末上升0.30个百分点;有息资产负债率为22.06%,相比上年末下降0.66个百分点。

2023年,公司流动比率为0.91,速动比率为0.89。

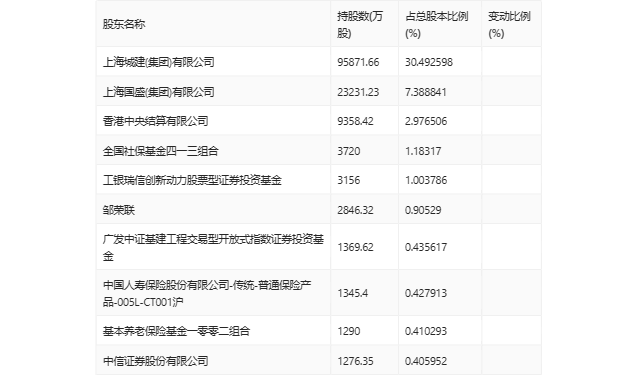
年报显示,2023年年末公司十大流通股东中,新进股东为中国人寿保险股份有限公司-传统-普通保险产品-005L-CT001沪、中信证券股份有限公司,取代了三季度末的富国基金-上海国盛(集团)有限公司-富国基金光睿单一资产管理计划、中证500交易型开放式指数证券投资基金。在具体持股比例上,全国社保基金四一三组合持股有所上升,香港中央结算有限公司、工银瑞信创新动力股票型证券投资基金、邹荣联、广发中证基建工程交易型开放式指数证券投资基金、基本养老保险基金一零零二组合持股有所下降。

筹码集中度方面,截至2023年年末,公司股东总户数为11.21万户,较三季度末下降了29户,降幅0.03%;户均持股市值由三季度末的16.43万元下降至16.15万元,降幅为1.70%。

指标注解:
市盈率
=总市值/净利润。当公司亏损时市盈率为负,此时用市盈率估值没有实际意义,往往用市净率或市销率做参考。
市净率
=总市值/净资产。市净率估值法多用于盈利波动较大而净资产相对稳定的公司。
市销率
=总市值/营业收入。市销率估值法通常用于亏损或微利的成长型公司。
文中市盈率和市销率采用TTM方式,即以截至最近一期财报(含预报)12个月的数据计算。市净率采用LF方式,即以最近一期财报数据计算。
市盈率为负时,不显示当期分位数,会导致折线图中断。
(文章来源:中国证券报·中证网)
(原标题:隧道股份:2023年净利同比增长2.92% 拟10派2.3元)
(责任编辑:137)
关于我们|资质证明|研究中心|联系我们|安全指引|免责条款|隐私条款|风险提示函|意见建议|在线客服|诚聘英才
天天基金客服热线:95021 |客服邮箱:vip@1234567.com.cn|人工服务时间:工作日 7:30-21:30 双休日 9:00-21:30
郑重声明:天天基金系证监会批准的基金销售机构[000000303]。天天基金网所载文章、数据仅供参考,使用前请核实,风险自负。
中国证监会上海监管局网址:www.csrc.gov.cn/pub/shanghai
CopyRight 上海天天基金销售有限公司 2011-现在 沪ICP证:沪B2-20130026 网站备案号:沪ICP备11042629号-1