热门:
大佬“奔私”一年就撤退了 怎么回事?
“奔私”仅一年的知名基金经理于洋,上演了一出“回公”戏码。
去年三季度,原富国基金经理于洋转战私募,与原源乐晟研究总监柳士威共同创办钦沐资产。不过今年9月开始,于洋陆续清退了其管理的私募产品,并于近日向记者透露已经离开钦沐资产,将回归公募。中国证券投资基金业协会公示信息显示,截至12月1日,钦沐资产的从业人员名单不见于洋身影。
据悉,于洋管理的大部分产品在清退之前具备40%以上的浮盈,而且于洋与钦沐资产另一位合伙人柳士威关系一直很好,那么为何于洋会选择离开?
一年的私募生涯
近日,记者获悉,原上海钦沐资产合伙人于洋已经离职,后续大概率回归公募。
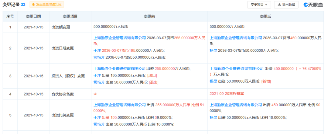
天眼查数据显示,10月15日钦沐资产进行了工商变更,于洋退出了钦沐资产39%的股权,柳士威成为公司大股东,持股比例为90%。另外,中国证券投资基金业协会的公示信息显示,截至12月1日,钦沐资产的成员中已经不见了于洋的身影。

值得注意的是,于洋今年9月份开始清退产品的时候,其转战私募刚好满一年。在这一年中,其管理的私募产品大多实现了40%以上的浮盈,并且据业内人士透露,凭借稳健收益,于洋离开前的管理规模已经超过30亿元。
同为合伙人的柳士威也毫不逊色,私募排排网数据显示,截至11月9日,柳士威管理的部分产品实现了70%以上的年内收益。
钦沐资产表示,于洋和柳士威一直分开独立管理基金产品,目前核心团队依旧稳定,柳士威管理的产品并无变化,于洋此前管理的产品也平稳清退,后续公司将继续强化投研实力,为投资人创造中长期稳健的绝对收益。

奔私后“水土不服”
令人颇为好奇的是,据业内人士透露,于洋与柳士威关系一直较好,所以退出并非出于利益分配问题,而是于洋发现自己的投资体系似乎更适合公募。
于洋在近期给持有人的一封信中也表示,自己在公募平台的支持下能够给持有人创造更好的回报。
“其实很多公募基金经理奔私后会面临两个问题:一是研究资源的减少,主观多头策略私募人数一般在10-20个人左右,研究资源相比于公募差之千里,而且私募获得优秀研究人才的难度非常大,习惯公募体系的基金经理会必然迎来挑战;二是一些自己创办私募的基金经理还要面对公司运营的事情,比如运营管理、人才招募、市场开拓等,会分散自己在投资层面的精力,如果影响业绩就容易形成负循环。”沪上一位私募研究员直言。
一位之前奔私的基金经理也透露:“我转战私募之后最大的感觉是很累,因为我希望客户的持有体验好一些,那么自己就要非常勤奋地调研,操作也需要相对灵活点,但这样高能耗的状态很难持续,所以会常常思考是不是自己的打法不太适合在私募。”
业绩分化显著
奔私后面临的种种挑战,使得过往公奔私基金经理的业绩分化非常明显。
朝阳永续数据显示,具备近三年业绩记录的公奔私基金经理共137位,截至11月10日,其中表现最好的基金经理近三年收益率高达504.44%,而表现最差的基金经理近三年收益率为-35.48%。

(文章来源:上海证券报)
(原标题:大佬“奔私”一年就撤退了,怎么回事?)
(责任编辑:108)
关于我们|资质证明|研究中心|联系我们|安全指引|免责条款|隐私条款|风险提示函|意见建议|在线客服|诚聘英才
天天基金客服热线:95021 |客服邮箱:vip@1234567.com.cn|人工服务时间:工作日 7:30-21:30 双休日 9:00-21:30
郑重声明:天天基金系证监会批准的基金销售机构[000000303]。天天基金网所载文章、数据仅供参考,使用前请核实,风险自负。
中国证监会上海监管局网址:www.csrc.gov.cn/pub/shanghai
CopyRight 上海天天基金销售有限公司 2011-现在 沪ICP证:沪B2-20130026 网站备案号:沪ICP备11042629号-1