热门:
百亿私募大佬但斌 有多只产品规模却不到500万 怎么回事?
作为知名的私募大佬,东方港湾董事长但斌一直备受市场关注。
一般来说,作为百亿级别的私募掌门人,不太可能发行或管理几百万规模的Mini产品。但记者注意到,近期但斌旗下有多只产品,管理规模还不到500万元。有业内人士分析,可能与投资者赎回有关。
《每日经济新闻》此前曾报道,但斌以10%左右的低仓躲过了3月、4月的回调,但也错过了5月,6月的强势反弹行情。在“抄底美股踏空A股”的做法被投资者质疑后,其近期产品净值依然没有回升,尤其是含美股的产品近一个月还在原地踏步。
但斌旗下多只产品管理规模低于500万
其实, 百亿私募大佬的产品出现管理规模低于500万的情况,很可能是投资者赎回导致的缩水。
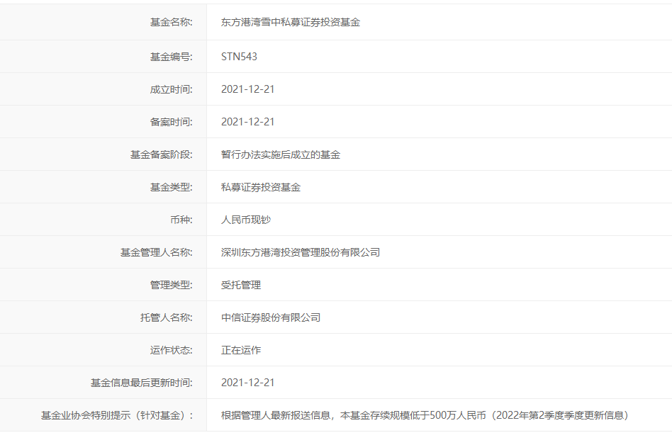
据基金业协会数据显示,但斌东方港湾旗下惊现多只产品管理规模低于500万元。其中包括东方港湾雪中私募证券投资基金、东方港湾春风二号私募投资基金、东方港湾马拉松10号私募证券投资基金、东方港湾马拉松17号私募证券投资基金、中融-东方港湾3号证券投资集合资金信托计划等产品管理规模低于500万元。

2022年第二季度更新的信息显示,备案于2018年8月13日的东方港湾春风二号私募投资基金存续管理规模低于500万元。 记者查阅私募排排网的数据显示,该产品截至今年7月8日的最新单位净值为0.6870元,累计净值为1.171元,今年以来收益亏损8.28%。从该产品净值曲线来看,从今年5月以来,净值低点是在5月27日,当时的单位净值为0.5920元。之后该产品净值有所回升,其中在6月2日上涨了2.53%,在6月10日上涨了7.08%。6月24日上涨了3.66%。截至7月8日,单位净值回到了0.687元。
备案于2020年12月9日的东方港湾马拉松10号,存续管理规模同样低于500万元。

记者查阅私募排排网的数据发现,截至7月8日的最新净值显示,该产品单位净值为0.9258元,今年以来亏损13.04%。从产品的净值曲线来看,近期波动加大,该产品前期净值曲线“躺平”之后,在6月10日净值下跌3.49%,6月17日净值下跌1.95%。到了6月24日反弹了4.31%。到了7月1日再度下跌3.51%。
存续管理规模低于500万元的,还有备案于2021年12月21日的东方港湾雪中私募证券投资基金。 截至7月11日的最新单位净值为0.9763元,从净值曲线来看,该产品从成立以来净值曲线几乎是一直“躺平”。该产品今年以来亏损2.52%,但是同期沪深300指数下跌11.37%,可谓是躺平跑赢了沪深300指数;另外还有备案于2019年8月27日的东方港湾马拉松17号存续管理规模低于500万元,截至7月8日的单位净值为1.356元,今年以来的收益亏损13.08%。从产品的净值曲线来看,经过前期的躺平之后,近期波动加大。

备案于2015年5月27日的中融-东方港湾3号证券投资集合资金信托计划也是一样。数据显示,截至7月11日,该产品的单位净值为2.3345元,今年以来亏损9.82%,不过该产品成立以来收益超133.45%。此时该产品管理规模低于500万元,明显是有人赎回止盈。
对此, 有业内人士在微信中告诉记者,一般是单客户产品或者自有资金成立的产品,在投资者赎回后,容易出现管理规模低于500万的情况。 另外私募产品在赎回后赎回费将计入产品收益,可能会导致规模较小的产品净值出现一定的波动。
此前被质疑的含美股产品近一个月“原地踏步”
A股市场在4月27日触底反弹,尤其是6月沪指从3200点一口气突破了3400点整数关口,让敢于重仓抄底的投资者赚得盆满钵满。而对于低仓位的私募大佬而言,无疑是痛苦的,比如前期大幅减持到一成仓位的私募大佬但斌,无疑踏空了这一波强势的反弹行情。 而由于前期“清空”A股加仓美股,但斌错过了A股反弹后又遭遇了美股大跌,旗下产品净值出现回撤,受到各方质疑。
在5月的一次路演中但斌表示,会以小仓位20%~30%去参与阶段性反弹。记者查阅私募排排网数据发现,但斌旗下的东方港湾心流投资近期净值波动明显,在5月20日,净值上涨了2.87%。不过在5月27日又下跌了2.58%。之后在6月2日上涨了2.65%,6月10日上涨了10.32%。 6月24日上涨了5.94%。截至7月8日的净值,回到了面值上方,单位净值为1.088元,不过该产品的基金经理是黄海平而非但斌。
那么,前期加仓美股的相关产品表现又如何呢?从当时传出的截图来看,东方港湾方远1号在6月10日的产品单位净值为0.858元。而记者查阅私募排排网的数据发现,截至7月8日,东方港湾方远1号的最新净值为0.8540元,今年以来亏损14.08%。再看净值曲线,该产品在6月24日出现小幅反弹,上涨了2.71%。 之后又开始下跌,在7月1日下跌1.72%。也就是说,近一个月了几乎原地踏步。
另外一只产品东方港湾方远5号,当时产品单位净值为0.777元,被投资者质疑“快到清盘线了”。记者查阅发现,截至7月8日的最新净值为0.7666元,相比之前还有所下跌。今年以来,累计亏损14.98%。
(文章来源:每日经济新闻)
(原标题:百亿私募大佬但斌,有多只产品规模却不到500万,怎么回事?)
(责任编辑:110)
关于我们|资质证明|研究中心|联系我们|安全指引|免责条款|隐私条款|风险提示函|意见建议|在线客服|诚聘英才
天天基金客服热线:95021 |客服邮箱:vip@1234567.com.cn|人工服务时间:工作日 7:30-21:30 双休日 9:00-21:30
郑重声明:天天基金系证监会批准的基金销售机构[000000303]。天天基金网所载文章、数据仅供参考,使用前请核实,风险自负。
中国证监会上海监管局网址:www.csrc.gov.cn/pub/shanghai
CopyRight 上海天天基金销售有限公司 2011-现在 沪ICP证:沪B2-20130026 网站备案号:沪ICP备11042629号-1