热门:
上海医药:2023年净利润同比下降32.92% 拟10派4.1元
中证智能财讯上海医药(601607)3月29日披露2023年年报。2023年,公司实现营业总收入2602.95亿元,同比增长12.21%;归母净利润37.68亿元,同比下降32.92%;扣非净利润35.96亿元,同比下降16.31%;经营活动产生的现金流量净额为52.32亿元,同比增长10.29%;报告期内,上海医药基本每股收益为1.02元,加权平均净资产收益率为5.56%。公司2023年年度利润分配预案为:拟向全体股东每10股派4.1元(含税)。


以3月28日收盘价计算,上海医药目前市盈率(TTM)约为16.76倍,市净率(LF)约为0.92倍,市销率(TTM)约为0.24倍。

公司近年市盈率(TTM)、市净率(LF)、市销率(TTM)历史分位图如下所示:



数据统计显示,上海医药近三年营业总收入复合增长率为10.69%,在医药流通行业已披露2023年数据的6家公司中排名第2。近三年净利润复合年增长率为-5.72%,排名5/6。

年报显示,公司是沪港两地上市的大型医药产业集团,是控股股东上实集团旗下大健康产业板块核心企业,主营业务医药工业、医药商业均居国内领先地位。
分产品来看,2023年公司主营业务中,分销收入2337.60亿元,同比增长13.62%,占营业收入的89.81%;工业收入262.57亿元,同比下降1.87%,占营业收入的10.09%;零售收入91.11亿元,同比增长10.25%,占营业收入的3.50%。

2023年,公司毛利率为12.04%,同比下降1.10个百分点;净利率为1.98%,较上年同期下降1.03个百分点。从单季度指标来看,2023年第四季度公司毛利率为11.73%,同比下降1.88个百分点,环比上升1.10个百分点;净利率为0.34%,较上年同期下降1.42个百分点,较上一季度下降2.03个百分点。

分产品看,分销、工业、零售2023年毛利率分别为6.31%、58.49%、11.96%。

报告期内,公司前五大客户合计销售金额147.44亿元,占总销售金额比例为5.66%,公司前五名供应商合计采购金额238.51亿元,占年度采购总额比例为10.42%。

数据显示,2023年公司加权平均净资产收益率为5.56%,较上年同期下降3.55个百分点;公司2023年投入资本回报率为5.12%,较上年同期下降2.58个百分点。

2023年,公司经营活动现金流净额为52.32亿元,同比增长10.29%;筹资活动现金流净额2.32亿元,同比减少119.07亿元;投资活动现金流净额-24.92亿元,上年同期为-124.73亿元。
进一步统计发现,2023年公司自由现金流为-3006.64万元,上年同期为-932631.14万元。

2023年,公司营业收入现金比为110.18%,净现比为138.84%。

营运能力方面,2023年,公司公司总资产周转率为1.27次,上年同期为1.28次(2022年行业平均值为1.15次,公司位居同行业12/24);公司应收账款周转率、存货周转率分别为3.73次、6.44次。

2023年,公司期间费用为233.04亿元,较上年同期增加6.08亿元;但期间费用率为8.95%,较上年同期下降0.83个百分点。其中,销售费用同比下降2.64%,管理费用同比增长14.43%,研发费用同比增长4.35%,财务费用同比增长13.14%。

资产重大变化方面,截至2023年年末,公司应收账款较上年末增加9.25%,占公司总资产比重上升0.72个百分点;长期股权投资较上年末减少9.54%,占公司总资产比重下降0.72个百分点;货币资金较上年末增加11.37%,占公司总资产比重上升0.57个百分点;预付款项较上年末减少17.52%,占公司总资产比重下降0.45个百分点。

负债重大变化方面,截至2023年年末,公司短期借款较上年末增加28.14%,占公司总资产比重上升2.77个百分点;应付账款较上年末增加5.07%,占公司总资产比重下降0.42个百分点;其他应付款(含利息和股利)较上年末增加8.95%,占公司总资产比重上升0.16个百分点;应付票据较上年末增加12.68%,占公司总资产比重上升0.16个百分点。

2023年全年,公司研发投入金额为26.02亿元,同比下降7.07%;研发投入占营业收入比例为9.91%,相比上年同期下降0.56个百分点。此外,公司全年研发投入资本化率为15.30%。


在偿债能力方面,公司2023年年末资产负债率为62.11%,相比上年末上升1.48个百分点;有息资产负债率为20.90%,相比上年末上升2.09个百分点。

2023年,公司流动比率为1.33,速动比率为1.03。

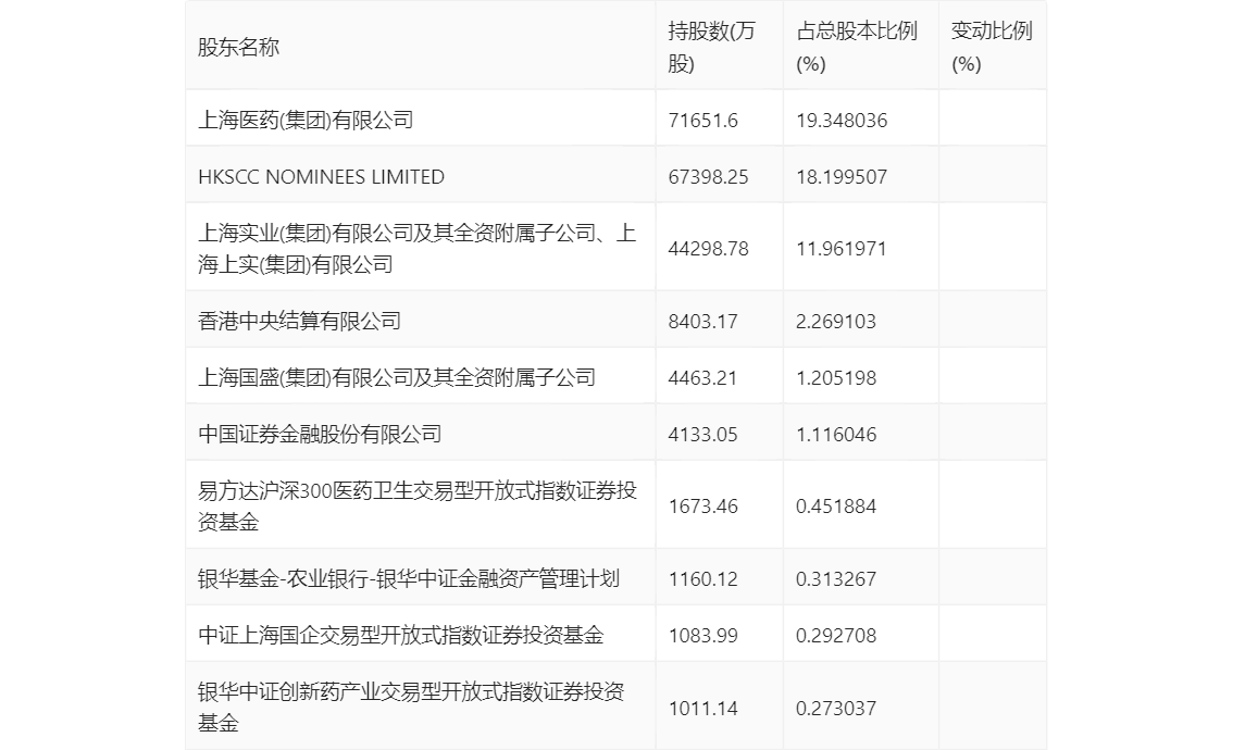
年报显示,2023年年末公司十大流通股东中,新进股东为上海实业(集团)有限公司及其全资附属子公司、上海上实(集团)有限公司、上海国盛(集团)有限公司及其全资附属子公司、银华中证创新药产业交易型开放式指数证券投资基金,取代了三季度末的上实集团及其全资附属子公司、上海上实及其全资附属子公司、上海国盛(集团)有限公司及其全资子公司上海盛睿投资有限公司、上海国盛集团资产有限公司、工银瑞信创新动力股票型证券投资基金。在具体持股比例上,HKSCC NOMINEES LIMITED持股有所上升,香港中央结算有限公司、易方达沪深300医药卫生交易型开放式指数证券投资基金、中证上海国企交易型开放式指数证券投资基金持股有所下降。

筹码集中度方面,截至2023年末,公司股东总户数为8.48万户,较三季度末增长了4708户,增幅5.88%;户均持股市值由三季度末的83.64万元下降至73.1万元,降幅为12.61%。
指标注解:
市盈率
=总市值/净利润。当公司亏损时市盈率为负,此时用市盈率估值没有实际意义,往往用市净率或市销率做参考。
市净率
=总市值/净资产。市净率估值法多用于盈利波动较大而净资产相对稳定的公司。
市销率
=总市值/营业收入。市销率估值法通常用于亏损或微利的成长型公司。
文中市盈率和市销率采用TTM方式,即以截至最近一期财报(含预报)12个月的数据计算。市净率采用LF方式,即以最近一期财报数据计算。
市盈率为负时,不显示当期分位数,会导致折线图中断。
(文章来源:中国证券报·中证网)
(原标题:上海医药:2023年净利润同比下降32.92% 拟10派4.1元)
(责任编辑:6)
关于我们|资质证明|研究中心|联系我们|安全指引|免责条款|隐私条款|风险提示函|意见建议|在线客服|诚聘英才
天天基金客服热线:95021 |客服邮箱:vip@1234567.com.cn|人工服务时间:工作日 7:30-21:30 双休日 9:00-21:30
郑重声明:天天基金系证监会批准的基金销售机构[000000303]。天天基金网所载文章、数据仅供参考,使用前请核实,风险自负。
中国证监会上海监管局网址:www.csrc.gov.cn/pub/shanghai
CopyRight 上海天天基金销售有限公司 2011-现在 沪ICP证:沪B2-20130026 网站备案号:沪ICP备11042629号-1