热门:
网宿科技:2023年净利同比增长221.68% 拟10派2.5元
网宿科技(300017)4月13日披露2023年年报。2023年,公司实现营业总收入47.05亿元,同比下降7.45%;归母净利润6.13亿元,同比增长221.68%;扣非净利润4.08亿元,同比增长132.08%;经营活动产生的现金流量净额为7.92亿元,同比下降15.03%;报告期内,网宿科技基本每股收益为0.25元,加权平均净资产收益率为6.58%。公司2023年年度利润分配预案为:拟向全体股东每10股派2.5元(含税)。
报告期内,公司合计非经常性损益为2.05亿元,其中非金融企业持有金融资产和金融负债产生的公允价值变动损益以及处置金融资产和金融负债产生的损益为1.02亿元。

以4月12日收盘价计算,网宿科技目前市盈率(TTM)约为34.9倍,市净率(LF)约为2.22倍,市销率(TTM)约为4.55倍。

公司近年市盈率(TTM)、市净率(LF)、市销率(TTM)历史分位图如下所示:



数据统计显示,网宿科技近三年营业总收入复合增长率为-6.12%,在IT服务Ⅲ行业已披露2023年数据的22家公司中排名第17。近三年净利润复合年增长率为40.72%,排名3/22。

分产品来看,2023年公司主营业务中,CDN及边缘计算收入43.76亿元,同比下降8.13%,占营业收入的93.01%;IDC及液冷收入2.67亿元,同比增长1.41%,占营业收入的5.68%;商品销售及其他收入6202.1万元,同比增长8.73%,占营业收入的1.32%。

2023年,公司毛利率为32.18%,同比上升5.98个百分点;净利率为12.89%,较上年同期上升9.27个百分点。从单季度指标来看,2023年第四季度公司毛利率为36.64%,同比上升6.97个百分点,环比上升4.24个百分点;净利率为15.61%,较上年同期上升14.64个百分点,较上一季度上升1.57个百分点。

分产品看,CDN及边缘计算、IDC及液冷2023年毛利率分别为32.82%、21.40%。

数据显示,2023年公司加权平均净资产收益率为6.58%,较上年同期增长4.46个百分点;公司2023年投入资本回报率为5.04%,较上年同期增长3.51个百分点。

2023年,公司经营活动现金流净额为7.92亿元,同比下降15.03%;筹资活动现金流净额-341.99万元,同比增加5.41亿元;投资活动现金流净额-10.23亿元,上年同期为2.24亿元。
进一步统计发现,2023年公司自由现金流为6.87亿元,相比上年同期下降75.86%。

2023年,公司营业收入现金比为111.97%,净现比为129.13%。

营运能力方面,2023年,公司公司总资产周转率为0.44次,上年同期为0.48次(2022年行业平均值为0.47次,公司位居同行业60/135);公司应收账款周转率、存货周转率分别为4.11次、145.05次。

2023年,公司期间费用为10.16亿元,较上年同期减少7321.80万元;但期间费用率为21.58%,较上年同期上升0.17个百分点。其中,销售费用同比增长7.89%,管理费用同比增长0.86%,研发费用同比下降4.48%,财务费用由去年同期的-7420.76万元变为-1.57亿元。

资产重大变化方面,截至2023年年末,公司其他非流动资产较上年末增加50.24%,占公司总资产比重上升7.30个百分点;货币资金较上年末减少25.84%,占公司总资产比重下降6.82个百分点;其他非流动金融资产较上年末增加358.37%,占公司总资产比重上升6.64个百分点;固定资产较上年末减少21.08%,占公司总资产比重下降2.52个百分点。

负债重大变化方面,截至2023年年末,公司应付账款较上年末减少24.09%,占公司总资产比重下降1.94个百分点;短期借款较上年末减少44.69%,占公司总资产比重下降0.65个百分点;其他应付款(含利息和股利)较上年末减少29.57%,占公司总资产比重下降0.27个百分点;长期递延收益较上年末减少46.52%,占公司总资产比重下降0.15个百分点。

从存货变动来看,截至2023年年末,公司存货账面价值为1348.04万元,占净资产的0.14%,较上年末减少1704.25万元。其中,存货跌价准备为755.94万元,计提比例为35.93%。

2023年全年,公司研发投入金额为4.58亿元,同比下降0.98%;研发投入占营业收入比例为9.72%,相比上年同期上升0.63个百分点。此外,公司全年研发投入资本化率为0。


在偿债能力方面,公司2023年年末资产负债率为10.76%,相比上年末下降2.85个百分点;有息资产负债率为0.93%,相比上年末下降0.66个百分点。

2023年,公司流动比率为5.20,速动比率为5.19。

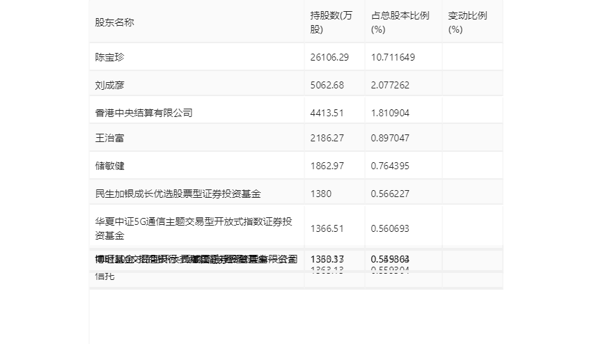
年报显示,2023年年末公司十大流通股东中,新进股东为民生加银成长优选股票型证券投资基金,取代了三季度末的杨迎军。在具体持股比例上,陈宝珍、刘成彦、王治富、储敏健、华夏中证5G通信主题交易型开放式指数证券投资基金、博时基金-招商银行-西藏信托-晋泽1号单一资金信托、博时基金-招商银行-长城国融投资管理有限公司持股有所上升,香港中央结算有限公司、中证500交易型开放式指数证券投资基金持股有所下降。

筹码集中度方面,截至2023年年末,公司股东总户数为13.33万户,较三季度末增长了4452户,增幅3.46%;户均持股市值由三季度末的12.64万元上升至14.35万元,增幅为13.53%。

指标注解:
市盈率
=总市值/净利润。当公司亏损时市盈率为负,此时用市盈率估值没有实际意义,往往用市净率或市销率做参考。
市净率
=总市值/净资产。市净率估值法多用于盈利波动较大而净资产相对稳定的公司。
市销率
=总市值/营业收入。市销率估值法通常用于亏损或微利的成长型公司。
文中市盈率和市销率采用TTM方式,即以截至最近一期财报(含预报)12个月的数据计算。市净率采用LF方式,即以最近一期财报数据计算。
市盈率为负时,不显示当期分位数,会导致折线图中断。
(文章来源:中国证券报·中证网)
(原标题:网宿科技:2023年净利同比增长221.68% 拟10派2.5元)
(责任编辑:73)
关于我们|资质证明|研究中心|联系我们|安全指引|免责条款|隐私条款|风险提示函|意见建议|在线客服|诚聘英才
天天基金客服热线:95021 |客服邮箱:vip@1234567.com.cn|人工服务时间:工作日 7:30-21:30 双休日 9:00-21:30
郑重声明:天天基金系证监会批准的基金销售机构[000000303]。天天基金网所载文章、数据仅供参考,使用前请核实,风险自负。
中国证监会上海监管局网址:www.csrc.gov.cn/pub/shanghai
CopyRight 上海天天基金销售有限公司 2011-现在 沪ICP证:沪B2-20130026 网站备案号:沪ICP备11042629号-1