热门:
江龙船艇:2023年净利同比增长236.45% 拟10派0.3元
中证智能财讯江龙船艇(300589)4月24日披露2023年年报。2023年,公司实现营业总收入11.87亿元,同比增长74.40%;归母净利润4407.43万元,同比增长236.45%;扣非净利润2931.84万元,同比增长1740.27%;经营活动产生的现金流量净额为4.52亿元,同比增长215.84%;报告期内,江龙船艇基本每股收益为0.1167元,加权平均净资产收益率为5.59%。公司2023年年度利润分配预案为:拟向全体股东每10股派0.3元(含税)。
报告期内,公司合计非经常性损益为1475.59万元,其中计入当期损益的政府补助为1209.69万元。

以4月23日收盘价计算,江龙船艇目前市盈率(TTM)约为97.43倍,市净率(LF)约为5.25倍,市销率(TTM)约为3.62倍。

公司近年市盈率(TTM)、市净率(LF)、市销率(TTM)历史分位图如下所示:



数据统计显示,江龙船艇近三年营业总收入复合增长率为24.64%,在航海装备Ⅲ行业已披露2023年数据的6家公司中排名第1。近三年净利润复合年增长率为8.13%,排名2/6。

资料显示,公司主要从事公务执法船艇、旅游休闲船艇和特种作业船艇的设计、研发、生产和销售,为客户提供从应用设计、产品制造到维修保养等全方位的个性化服务解决方案,是国内优秀的铝合金、金属及多材质复合船艇供应商。
分产品来看,2023年公司主营业务中,公务执法船艇收入7.64亿元,同比增长170.40%,占营业收入的64.34%;旅游休闲船艇收入2.27亿元,同比增长34.03%,占营业收入的19.16%;特种作业船艇收入1.80亿元,同比下降13.16%,占营业收入的15.19%。

截至2023年末,公司员工总数为941人,人均创收126.12万元,人均创利4.68万元,人均薪酬11.09万元,较上年同期分别变化31.59%、153.86%、-6.90%。
2023年,公司毛利率为14.13%,同比下降2.71个百分点;净利率为3.81%,较上年同期上升1.74个百分点。从单季度指标来看,2023年第四季度公司毛利率为12.94%,同比下降1.07个百分点,环比上升0.14个百分点;净利率为6.33%,较上年同期上升4.45个百分点,较上一季度上升5.20个百分点。

分产品看,公务执法船艇、旅游休闲船艇、特种作业船艇2023年毛利率分别为14.58%、8.30%、16.37%。

报告期内,公司前五大客户合计销售金额5.43亿元,占总销售金额比例为45.78%,公司前五名供应商合计采购金额2.19亿元,占年度采购总额比例为27.90%。


数据显示,2023年公司加权平均净资产收益率为5.59%,较上年同期增长3.84个百分点;公司2023年投入资本回报率为3.64%,较上年同期增长3.67个百分点。

2023年,公司经营活动现金流净额为4.52亿元,同比增长215.84%;筹资活动现金流净额6864.90万元,同比增加2.33亿元;投资活动现金流净额-2.85亿元,上年同期为-1.17亿元。
进一步统计发现,2023年公司自由现金流为2.97亿元,相比上年同期增长260.08%。

2023年,公司营业收入现金比为150.87%,净现比为1025.98%。

营运能力方面,2023年,公司公司总资产周转率为0.60次,上年同期为0.45次(2022年行业平均值为0.32次,公司位居同行业2/11);固定资产周转率为2.67次,上年同期为2.19次(2022年行业平均值为3.26次,公司位居同行业9/11);公司应收账款周转率、存货周转率分别为6.45次、8.62次。

2023年,公司期间费用为1.32亿元,同比增长2381.28万元;但期间费用率为11.09%,同比下降4.75个百分点。其中,销售费用同比下降5.02%,管理费用同比增长21.81%,研发费用同比增长32.63%,财务费用-1305.97万元,去年同期-1211.23万元。

资产重大变化方面,截至2023年年末,公司预付款项较上年末增加353.22%,占公司总资产比重上升10.05个百分点;应收账款较上年末增加3.60%,占公司总资产比重下降3.84个百分点;存货较上年末增加4.55%,占公司总资产比重下降2.41个百分点;合同资产较上年末增加5.84%,占公司总资产比重下降2.25个百分点。

负债重大变化方面,截至2023年年末,公司合同负债较上年末增加92.65%,占公司总资产比重上升6.43个百分点;应付票据较上年末增加216.02%,占公司总资产比重上升9.24个百分点;应付账款较上年末增加33.71%,占公司总资产比重下降1.29个百分点;短期借款较上年末增加1086.79%,占公司总资产比重上升1.13个百分点。

从存货变动来看,截至2023年年末,公司存货账面价值为1.21亿元,占净资产的14.76%,较上年末增加525.75万元。其中,存货跌价准备为250.3万元,计提比例为2.03%。

2023年全年,公司研发投入金额为6020.13万元,同比增长22.74%;研发投入占营业收入比例为5.07%,相比上年同期下降2.14个百分点。此外,公司全年研发投入资本化率为0.93%。


在偿债能力方面,公司2023年年末资产负债率为63.08%,相比上年末上升13.98个百分点;有息资产负债率为1.30%,相比上年末上升1.13个百分点。

2023年,公司流动比率为1.04,速动比率为0.96。

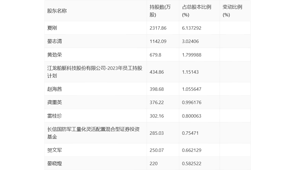
年报显示,2023年年末公司十大流通股东中,新进股东为江龙船艇科技股份有限公司-2023年员工持股计划、长信国防军工量化灵活配置混合型证券投资基金,取代了三季度末的江龙船艇科技股份有限公司-2022年员工持股计划、银万全盈5号私募证券投资基金。在具体持股比例上,雷桂珍持股有所下降。

筹码集中度方面,截至2023年年末,公司股东总户数为2.56万户,较三季度末下降了1624户,降幅5.96%;户均持股市值由三季度末的18.45万元上升至20.46万元,增幅为10.89%。

指标注解:
市盈率
=总市值/净利润。当公司亏损时市盈率为负,此时用市盈率估值没有实际意义,往往用市净率或市销率做参考。
市净率
=总市值/净资产。市净率估值法多用于盈利波动较大而净资产相对稳定的公司。
市销率
=总市值/营业收入。市销率估值法通常用于亏损或微利的成长型公司。
文中市盈率和市销率采用TTM方式,即以截至最近一期财报(含预报)12个月的数据计算。市净率采用LF方式,即以最近一期财报数据计算。
市盈率为负时,不显示当期分位数,会导致折线图中断。
(文章来源:中国证券报·中证网)
(原标题:江龙船艇:2023年净利同比增长236.45% 拟10派0.3元)
(责任编辑:126)
关于我们|资质证明|研究中心|联系我们|安全指引|免责条款|隐私条款|风险提示函|意见建议|在线客服|诚聘英才
天天基金客服热线:95021 |客服邮箱:vip@1234567.com.cn|人工服务时间:工作日 7:30-21:30 双休日 9:00-21:30
郑重声明:天天基金系证监会批准的基金销售机构[000000303]。天天基金网所载文章、数据仅供参考,使用前请核实,风险自负。
中国证监会上海监管局网址:www.csrc.gov.cn/pub/shanghai
CopyRight 上海天天基金销售有限公司 2011-现在 沪ICP证:沪B2-20130026 网站备案号:沪ICP备11042629号-1