热门:
南山控股:2024年第一季度亏损1.24亿元
南山控股(002314)4月26日披露2024年一季报。2024年第一季度,公司实现营业总收入13.31亿元,同比下降74.08%;归母净利润亏损1.24亿元,上年同期盈利9164.70万元;扣非净利润亏损1.30亿元,上年同期盈利7111.27万元;经营活动产生的现金流量净额为-17.45亿元,上年同期为5.96亿元;报告期内,南山控股基本每股收益为-0.0459元,加权平均净资产收益率为-1.22%。

2024年第一季度,公司毛利率为24.34%,同比上升3.45个百分点;净利率为-6.75%,较上年同期下降10.12个百分点。

数据显示,2024年第一季度公司加权平均净资产收益率为-1.22%,较上年同期下降2.11个百分点;公司2024年第一季度投入资本回报率为0.29%,较上年同期下降0.23个百分点。

2024年第一季度,公司经营活动现金流净额为-17.45亿元,同比减少23.41亿元;筹资活动现金流净额5.14亿元,同比减少14.43亿元;投资活动现金流净额-5.13亿元,上年同期为-3.7亿元。

2024年第一季度,公司营业收入现金比为129.25%。

资产重大变化方面,截至2024年一季度末,公司货币资金较上年末减少21.27%,占公司总资产比重下降2.28个百分点;存货较上年末增加0.54%,占公司总资产比重上升0.63个百分点;在建工程较上年末增加6.91%,占公司总资产比重上升0.55个百分点;其他流动资产较上年末增加11.42%,占公司总资产比重上升0.42个百分点。

负债重大变化方面,截至2024年一季度末,公司长期借款较上年末增加17.97%,占公司总资产比重上升4.95个百分点;一年内到期的非流动负债较上年末减少23.01%,占公司总资产比重下降2.59个百分点;应付账款较上年末减少29.76%,占公司总资产比重下降2.00个百分点;应付债券较上年末减少33.33%,占公司总资产比重下降0.67个百分点。

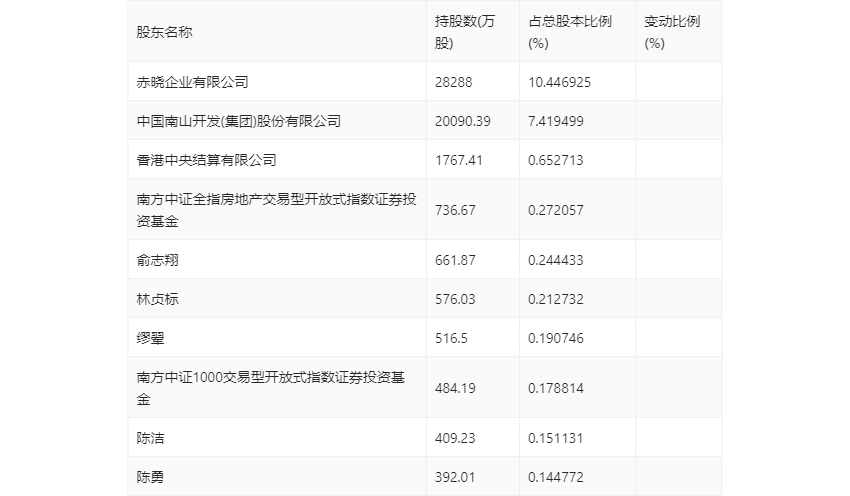
一季报显示,2024年一季度末公司十大流通股东中,新进股东为南方中证1000交易型开放式指数证券投资基金、陈勇,取代了上年末的招商核心竞争力混合型证券投资基金、招商社会责任混合型证券投资基金。在具体持股比例上,香港中央结算有限公司、林贞标、陈洁持股有所上升,南方中证全指房地产交易型开放式指数证券投资基金、缪翚持股有所下降。

筹码集中度方面,截至2024年一季度末,公司股东总户数为5.02万户,较上年末下降了1838户,降幅3.53%;户均持股市值由上年末的15.09万元下降至13.54万元,降幅为10.27%。

(文章来源:中国证券报·中证网)
(原标题:南山控股:2024年第一季度亏损1.24亿元)
(责任编辑:73)
关于我们|资质证明|研究中心|联系我们|安全指引|免责条款|隐私条款|风险提示函|意见建议|在线客服|诚聘英才
天天基金客服热线:95021 |客服邮箱:vip@1234567.com.cn|人工服务时间:工作日 7:30-21:30 双休日 9:00-21:30
郑重声明:天天基金系证监会批准的基金销售机构[000000303]。天天基金网所载文章、数据仅供参考,使用前请核实,风险自负。
中国证监会上海监管局网址:www.csrc.gov.cn/pub/shanghai
CopyRight 上海天天基金销售有限公司 2011-现在 沪ICP证:沪B2-20130026 网站备案号:沪ICP备11042629号-1