热门:
丽江股份:2024年上半年净利润1.12亿元 同比下降7.22%
中证智能财讯 丽江股份(002033)8月16日披露2024年半年度报告。2024年上半年,公司实现营业收入3.85亿元,同比下降1.93%;归母净利润1.12亿元,同比下降7.22%;扣非净利润1.12亿元,同比下降11.32%;经营活动产生的现金流量净额为1.39亿元,同比下降34.86%;报告期内,丽江股份基本每股收益为0.2044元,加权平均净资产收益率为4.44%。

以8月15日收盘价计算,丽江股份目前市盈率(TTM)约为21.64倍,市净率(LF)约为1.95倍,市销率(TTM)约为5.98倍。

公司近年市盈率(TTM)、市净率(LF)、市销率(TTM)历史分位图如下所示:



根据半年报,公司第二季度实现营业收入2.05亿元,同比下降3.52%,环比增长13.88%;归母净利润5649.77万元,同比下降14.2%,环比增长1.23%;扣非净利润5695.74万元,同比下降19.68%,环比增长3.19% 。

资料显示,公司主要业务经营旅游索道及其相关配套服务;对旅游、房地产、酒店、交通、餐饮等行业投资、建设等。
分产品来看,2024年上半年公司主营业务中,索道运输收入1.98亿元,同比增长1.46%,占营业收入的51.52%;印象演出收入0.75亿元,同比下降1.79%,占营业收入的19.42%;酒店服务收入0.69亿元,同比下降12.73%,占营业收入的17.84%。

2024年上半年,公司毛利率为57.21%,同比下降4.93个百分点;净利率为33.02%,较上年同期下降1.74个百分点。从单季度指标来看,2024年第二季度公司毛利率为56.30%,同比下降6.45个百分点,环比下降1.94个百分点;净利率为31.36%,较上年同期下降3.74个百分点,较上一季度下降3.56个百分点。

分产品看,索道运输、印象演出、酒店服务2024年上半年毛利率分别为83.82%、57.00%、9.46%。

盈利能力方面, 2024年半年度公司加权平均净资产收益率为4.44%,同比下降0.45个百分点。公司2024年上半年投入资本回报率为4.85%,较上年同期下降0.39个百分点。

2024年上半年,公司经营活动现金流净额为1.39亿元,同比下降34.86%;筹资活动现金流净额-2.19亿元,同比减少2.2亿元;投资活动现金流净额4127.31万元,上年同期为3657.71万元。
进一步统计发现,2024年上半年公司自由现金流为1.48亿元,相比上年同期下降59.83%。

2024年上半年,公司营业收入现金比为124.72%,净现比为123.40%。

营运能力方面,2024年上半年,公司公司总资产周转率为0.13次,上年同期为0.14次(2023年上半年行业平均值为0.14次,公司位居同行业7/12);固定资产周转率为0.33次,上年同期为0.34次(2023年上半年行业平均值为0.35次,公司位居同行业6/12);公司应收账款周转率、存货周转率分别为27.76次、10.08次。

2024年上半年,公司期间费用为6167.30万元,较上年同期减少792.65万元;期间费用率为16.03%,较上年同期下降1.71个百分点。其中,销售费用同比下降2.79%,管理费用同比下降14.64%,财务费用由去年同期的-232.20万元变为-120.55万元。
资料显示,财务费用的变动主要因为报告期利息收入减少。

资产重大变化方面,截至2024年上半年末,公司在建工程较上年末增加42.67%,占公司总资产比重上升2.78个百分点;固定资产较上年末减少1.95%,占公司总资产比重上升1.14个百分点;货币资金较上年末减少6.25%,占公司总资产比重下降0.35个百分点;应收账款较上年末增加91.12%,占公司总资产比重上升0.32个百分点。

负债重大变化方面,截至2024年上半年末,公司应付职工薪酬较上年末减少63.04%,占公司总资产比重下降1.14个百分点;应付账款较上年末减少25.21%,占公司总资产比重下降0.80个百分点;应交税费较上年末增加54.09%,占公司总资产比重上升0.63个百分点;合同负债较上年末增加155.77%,占公司总资产比重上升0.24个百分点。

从存货变动来看,截至2024年上半年末,公司存货账面价值为1494.2万元,占净资产的0.62%,较上年末减少278.23万元。其中,存货跌价准备为221.81万元,计提比例为12.93%。

在偿债能力方面,公司2024年上半年末资产负债率为8.74%,相比上年末下降1.13个百分点;有息资产负债率为0.02%,相比上年末下降0.02个百分点。

2024年上半年,公司流动比率为3.03,速动比率为2.97。

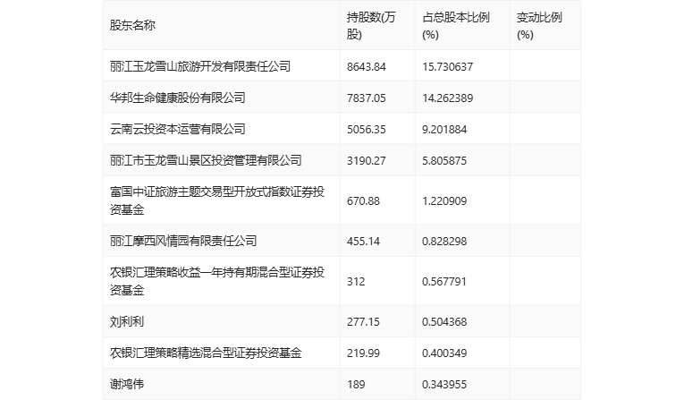
半年报显示,2024年上半年末公司十大流通股东中,新进股东为农银汇理策略精选混合型证券投资基金,取代了一季度末的融通动力先锋混合型证券投资基金。在具体持股比例上,富国中证旅游主题交易型开放式指数证券投资基金、农银汇理策略收益一年持有期混合型证券投资基金、刘利利持股有所上升,谢鸿伟持股有所下降。

筹码集中度方面,截至2024年上半年末,公司股东总户数为4.94万户,较一季度末下降了5339户,降幅9.75%;户均持股市值由一季度末的10.11万元下降至9.73万元,降幅为3.76%。

指标注解:
市盈率
=总市值/净利润。当公司亏损时市盈率为负,此时用市盈率估值没有实际意义,往往用市净率或市销率做参考。
市净率
=总市值/净资产。市净率估值法多用于盈利波动较大而净资产相对稳定的公司。
市销率
=总市值/营业收入。市销率估值法通常用于亏损或微利的成长型公司。
文中市盈率和市销率采用TTM方式,即以截至最近一期财报(含预报)12个月的数据计算。市净率采用LF方式,即以最近一期财报数据计算。
市盈率为负时,不显示当期分位数,会导致折线图中断。
(文章来源:中国证券报·中证网)
(原标题:丽江股份:2024年上半年净利润1.12亿元 同比下降7.22%)
(责任编辑:3)
关于我们|资质证明|研究中心|联系我们|安全指引|免责条款|隐私条款|风险提示函|意见建议|在线客服|诚聘英才
天天基金客服热线:95021 |客服邮箱:vip@1234567.com.cn|人工服务时间:工作日 7:30-21:30 双休日 9:00-21:30
郑重声明:天天基金系证监会批准的基金销售机构[000000303]。天天基金网所载文章、数据仅供参考,使用前请核实,风险自负。
中国证监会上海监管局网址:www.csrc.gov.cn/pub/shanghai
CopyRight 上海天天基金销售有限公司 2011-现在 沪ICP证:沪B2-20130026 网站备案号:沪ICP备11042629号-1