热门:
赛轮轮胎:2024年上半年净利润21.51亿元 同比增长105.77%

中证智能财讯赛轮轮胎(601058)8月23日披露2024年半年报。2024年上半年,公司实现营业总收入151.54亿元,同比增长30.29%;归母净利润21.51亿元,同比增长105.77%;经营活动产生的现金流量净额为3.17亿元,同比下降83.23%;报告期内,赛轮轮胎基本每股收益为0.66元,加权平均净资产收益率为12.79%。
公告称,公司营业收入变化主要由于本期轮胎销量增加。


以8月21日收盘价计算,赛轮轮胎目前市盈率(TTM)约为9.65倍,市净率(LF)约为2.27倍,市销率(TTM)约为1.37倍。

公司近年市盈率(TTM)、市净率(LF)、市销率(TTM)历史分位图如下所示:



根据半年报,公司第二季度实现营业总收入78.58亿元,同比增长25.53%,环比增长7.71%;归母净利润11.18亿元,同比增长61.85%,环比增长8.13%;扣非净利润10.37亿元,同比增长35.21%,环比增长2.20%。

半年报显示,公司集新材料、新技术、新装备、新工艺、新管理、新模式于一体,以“做一条好轮胎”为使命,致力于为全球轮胎用户提供更优质的产品与服务,公司产品包括半钢子午胎、全钢子午胎以及非公路轮胎,所有产品均严格遵循相关技术标准,出口产品满足国际市场相应的产品认证标准。公司产品广泛应用于轿车、轻型载重汽车、大型客车、货车、工程机械、特种车辆等领域。
2024年上半年,公司毛利率为28.77%,同比上升4.79个百分点;净利率为14.41%,较上年同期上升5.06个百分点。从单季度指标来看,2024年第二季度公司毛利率为29.77%,同比上升2.65个百分点,环比上升2.09个百分点;净利率为14.43%,较上年同期上升2.95个百分点,较上一季度上升0.04个百分点。

盈利能力方面, 2024年半年度公司加权平均净资产收益率为12.79%,同比上升4.47个百分点。公司2024年上半年投入资本回报率为8.7%,较上年同期上升3.41个百分点。

2024年上半年,公司经营活动现金流净额为3.17亿元,同比下降83.23%;筹资活动现金流净额20.83亿元,同比增加12.55亿元;投资活动现金流净额-22.80亿元,上年同期为-10.73亿元。
进一步统计发现,2024年上半年公司自由现金流为-20.17亿元,上年同期为4.78亿元。

2024年上半年,公司营业收入现金比为91.94%,净现比为14.71%。

营运能力方面,2024年上半年,公司公司总资产周转率为0.43次,上年同期为0.38次(2023年上半年行业平均值为0.31次,公司位居同行业7/19);固定资产周转率为1.14次,上年同期为1.00次(2023年上半年行业平均值为1.03次,公司位居同行业10/19);公司应收账款周转率、存货周转率分别为3.82次、2.08次。

2024年上半年,公司期间费用为18.17亿元,较上年同期增加3.99亿元;但期间费用率为11.99%,较上年同期下降0.20个百分点。其中,销售费用同比增长32.55%,管理费用同比增长31.36%,研发费用同比增长23.27%,财务费用同比增长16.3%。
资料显示,销售费用的变动主要因为本期人工及宣传费增加;管理费用的变动主要因为本期股份支付费用增加。

资产重大变化方面,截至2024年上半年末,公司固定资产较上年末增加1.67%,占公司总资产比重下降2.86个百分点;应收账款较上年末增加34.83%,占公司总资产比重上升2.30个百分点;交易性金融资产较上年末增加1226.04%,占公司总资产比重上升1.76个百分点;在建工程较上年末增加57.14%,占公司总资产比重上升1.10个百分点。

负债重大变化方面,截至2024年上半年末,公司短期借款较上年末增加52.05%,占公司总资产比重上升4.42个百分点,主要系本期根据经营需要短期借款增加;应付票据较上年末减少32.73%,占公司总资产比重下降3.88个百分点;长期借款较上年末增加29.75%,占公司总资产比重上升1.43个百分点;应付职工薪酬较上年末减少32.05%,占公司总资产比重下降0.61个百分点。

在偿债能力方面,公司2024年上半年末资产负债率为50.10%,相比上年末下降4.12个百分点;有息资产负债率为27.54%,相比上年末上升1.67个百分点。

2024年上半年,公司流动比率为1.24,速动比率为0.87。

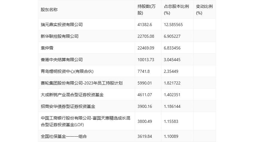
半年报显示,2024年上半年末公司十大流通股东中,新进股东为中国工商银行股份有限公司-富国天惠精选成长混合型证券投资基金(LOF),取代了一季度末的全国社保基金一零一组合。在具体持股比例上,新华联控股有限公司、香港中央结算有限公司、大成新锐产业混合型证券投资基金、招商安华债券型证券投资基金、全国社保基金一一一组合持股有所下降。

筹码集中度方面,截至2024年上半年末,公司股东总户数为4.39万户,较一季度末增长了1.17万户,增幅36.50%;户均持股市值由一季度末的149.99万元下降至104.79万元,降幅为30.14%。

指标注解:
市盈率
=总市值/净利润。当公司亏损时市盈率为负,此时用市盈率估值没有实际意义,往往用市净率或市销率做参考。
市净率
=总市值/净资产。市净率估值法多用于盈利波动较大而净资产相对稳定的公司。
市销率
=总市值/营业收入。市销率估值法通常用于亏损或微利的成长型公司。
文中市盈率和市销率采用TTM方式,即以截至最近一期财报(含预报)12个月的数据计算。市净率采用LF方式,即以最近一期财报数据计算。
市盈率为负时,不显示当期分位数,会导致折线图中断。
(文章来源:中国证券报·中证网)
(原标题:赛轮轮胎:2024年上半年净利润21.51亿元 同比增长105.77%)
(责任编辑:10)
关于我们|资质证明|研究中心|联系我们|安全指引|免责条款|隐私条款|风险提示函|意见建议|在线客服|诚聘英才
天天基金客服热线:95021 |客服邮箱:vip@1234567.com.cn|人工服务时间:工作日 7:30-21:30 双休日 9:00-21:30
郑重声明:天天基金系证监会批准的基金销售机构[000000303]。天天基金网所载文章、数据仅供参考,使用前请核实,风险自负。
中国证监会上海监管局网址:www.csrc.gov.cn/pub/shanghai
CopyRight 上海天天基金销售有限公司 2011-现在 沪ICP证:沪B2-20130026 网站备案号:沪ICP备11042629号-1