热门:
数据复盘丨杭齿前进7连板 81股获主力资金净流入超亿元 龙虎榜机构抢筹12股
2月20日,上证指数早盘低位窄幅震荡,午后震荡回升,尾盘有所回落;深证成指、科创50指数早盘冲高回落,午后探底回升,尾盘有所回落;创业板指早盘一度回升,随后回落下探,午后震荡回升,尾盘有所回落。截至收盘,上证指数报3350.78点,跌0.02%,成交额6700.99亿元;深证成指报10794.55点,涨0.2%,成交额10864.89亿元;创业板指报2225.58点,跌0.06%,成交额5373.22亿元;科创50指数报1033.09点,跌0.14%,成交额1484.5亿元。沪深两市合计成交17565.88亿元,成交额较上一交易日增加355.69亿元。
盘面上来看,行业板块、概念涨多跌少。其中,医药生物、国防军工、美容护理、机械设备、塑料制品、商贸零售、化工、纺织服装等行业涨幅靠前;AI眼镜、AI医疗、有机硅、人形机器人、PEEK材料、纳米银、户外露营、苹果概念、钛白粉等概念走势活跃。保险、建筑装饰、传媒、船舶制造、电力设备、房地产等行业跌幅居前;光伏高速公路、财税数字化、海洋经济、猪肉、网络游戏、白酒等概念走势较弱。涨停个股主要集中在化工、电子、机械设备、医药生物、计算机、国防军工等行业。
个股涨跌情况,截至收盘,沪深两市合计3169只个股上涨,1787只个股下跌,平盘个股167只,停牌的个股8只。不含当日上市新股,共有106只个股涨停,1只个股跌停。
从收盘涨停板封单量来看,胜利精密最受追捧,收盘涨停板封单有7058.55万股;其次是慈文传媒、浙江众成、新时达、卓翼科技、星星科技、金发科技等,涨停板封单分别有5322.86万股、4860.7万股、4605.19万股、4477.93万股、4294.04万股、4106.52万股。
以涨停板封单金额计算,28股封单金额超1亿元。其中,新时达涨停板封单资金最多,涨停板封单资金为6.85亿元;其次是金发科技、卓翼科技、慈文传媒、天普股份、奥飞数据、川润股份等,涨停板封单资金分别为5.08亿元、4.21亿元、4.14亿元、3.51亿元、3.41亿元、2.99亿元。

从连续涨停天数来看,杭齿前进连收7个涨停板,连续涨停板数量最多;其次是威尔泰、东华软件、冀东装备、新时达、四川金顶均4连板;禾盛新材、天普股份、*ST中迪、ST沪科均3连板;浙江众成、三丰智能、航锦科技、卓翼科技、润建股份、福鞍股份、浙版传媒、云中马、博迁新材、福莱新材等18股均2连板。
沪深两市主力资金净流出326.92亿元 6个行业主力资金呈现净流入
统计显示,沪深两市主力资金今日净流出326.92亿元。其中,创业板主力资金净流出106.65亿元,沪深300成份股主力资金净流出104.79亿元,科创板主力资金净流出14.22亿元。
从行业来看,申万所属的31个一级行业,今日有6个行业主力资金呈现净流入,其中,医药生物行业主力资金净流入最多,净流入金额为17.24亿元;行业主力资金净流入居前的还有国防军工、商贸零售等,净流入金额分别为6.22亿元、3.78亿元。25个行业主力资金呈现净流出,其中,计算机行业主力资金净流出最多,净流出金额为101.08亿元;行业主力资金净流出靠前的还有机械设备、电力设备、传媒、通信、汽车等,净流出金额分别为50.33亿元、40.41亿元、37.86亿元、21.18亿元、20.39亿元。
尾盘主力资金净流入来看,有10个行业获尾盘主力资金净流入,其中,计算机行业尾盘主力资金净流入最多,净流入金额为2.74亿元;其次是国防军工、银行、公用事业等行业,尾盘主力资金净流入均超8000万元。

81股获主力资金净流入超亿元 尾盘主力资金抢筹浙大网新等
个股来看,今日有2050个股获主力资金净流入,其中,81股获主力资金净流入超1亿元。上海电气主力资金净流入最多,净流入金额为6.4亿元;主力资金净流入居前的个股还有胜利精密、奥飞数据、浙大网新、领益智造、水晶光电等,净流入金额分别为5.25亿元、4.95亿元、4.57亿元、4.21亿元、4.18亿元。
尾盘主力资金净流入来看,有10股获尾盘主力资金净流入超5000万元,其中,浙大网新尾盘主力资金净流入最多,净流入金额为4.2亿元;其次是拓维信息、用友网络、川润股份、东华软件、大族激光等,尾盘主力资金净流入分别为2.32亿元、2.18亿元、2.13亿元、1.82亿元、0.99亿元。

135股被主力资金净卖出超亿元
今日有3073只个股被主力资金净卖出,其中,135股被主力资金净卖出超1亿元。主力资金净流出最多的个股是巨轮智能,净流出金额为14.3亿元;主力资金净流出居前的个股还有每日互动、江淮汽车、卧龙电驱、长盛轴承、中芯国际等,净流出金额分别为13.84亿元、9.82亿元、8.66亿元、8.39亿元、7.95亿元。
尾盘主力资金净卖出来看,有23股被尾盘主力资金净卖出超5000万元,其中,尾盘主力资金净流出最多的个股是每日互动,净流出金额为3.41亿元;其次是中国联通、江淮汽车、光线传媒、卧龙电驱、神州数码等,尾盘主力资金净流出均超1.5亿元。

龙虎榜机构净买入12股 南亚新材居首
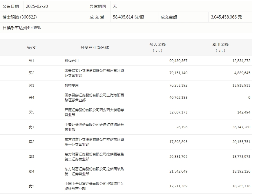
盘后龙虎榜数据显示,今日机构席位资金合计净买入约1465.06万元。其中,净买入的个股12只,净卖出的个股15只。机构净买入最多的股票是南亚新材,净买入金额约1.63亿元;机构净买入居前的还有博士眼镜、华曙高科、凌云光等,机构净卖出最多的股票是东华软件,净卖出金额约1.31亿元;机构净卖出居前的还有平治信息、航锦科技、水晶光电等股。

博士眼镜今天涨停。盘后数据显示,2家机构出现在龙虎榜单上,合计净买入1.4亿元;国泰君安证券股份有限公司郑州黄河路证券营业部买入7915.11万元,同时卖出488.96万元;东方财富证券股份有限公司拉萨团结路第二证券营业部买入2688.17万元,同时卖出1877.4万元。

(文章来源:证券时报网)
(原标题:数据复盘丨杭齿前进7连板,81股获主力资金净流入超亿元,龙虎榜机构抢筹12股)
(责任编辑:10)
关于我们|资质证明|研究中心|联系我们|安全指引|免责条款|隐私条款|风险提示函|意见建议|在线客服|诚聘英才
天天基金客服热线:95021 |客服邮箱:vip@1234567.com.cn|人工服务时间:工作日 7:30-21:30 双休日 9:00-21:30
郑重声明:天天基金系证监会批准的基金销售机构[000000303]。天天基金网所载文章、数据仅供参考,使用前请核实,风险自负。
中国证监会上海监管局网址:www.csrc.gov.cn/pub/shanghai
CopyRight 上海天天基金销售有限公司 2011-现在 沪ICP证:沪B2-20130026 网站备案号:沪ICP备11042629号-1